Váhy

Váhy jsou zařízení resp. přístroje sestrojené pro měření hmotnosti pomocí tíže. Pracují na různých fyzikálních principech. Vážení je jedním z nejstarších a nejrozšířenějších postupů měření.
Fyzikální základ vážení
Vážením rozumíme obvykle porovnávání tíhy těles (nelze redukovat na gravitační sílu - tíhové pole je totiž v soustavách spojených s povrchem Země superpozicí gravitační síly a setrvačné odstředivé síly, způsobené zemskou rotací) za účelem stanovení hmotnosti. Tíhová síla je v daném místě dána podle 2. Newtonova zákona součinem hmotnosti a lokálně konstantního místního tíhového zrychlení. Rovnost tíhy (působící na závěs vah) znamená tedy i rovnost tíhové síly (kterou působí tíhové pole na vážená tělesa) a tedy i rovnost jejich hmotností. Účelem vážení je tedy najít takové závaží známé hmotnosti, které bude mít stejný silový účinek na váhy jako zkoumané těleso.
Pokud je tedy tíhové působení na dvě tělesa v daném místě na povrchu Země stejné, říkáme v běžném životě, že mají stejnou váhu a obvykle tím rozumíme, že mají stejnou hmotnost.
Při velmi přesných váženích se však musí brát ohled na další silová působení, která se nepodařilo odstínit, např. na vliv aerostatického vztlaku - vztlaková síla podle Archimédova zákona působí proti tíze a snižuje tak silové působení na závěs vah (redukce na vážení ve vakuu). V případě, že je namísto závaží použito jiného vyvažovacího silového působení, je nutné započítat i proměnlivost lokální hodnoty tíhového zrychlení.
Typy vah
Podle konstrukce a použitých fyzikálních metod porovnávání síly F dělíme váhy na řadu typů, zejména na:




váhy osobní
- váhy pákové porovnávají hmotnost váženého předmětu se závažím o známé hmotnosti a dále se dělí na:
- váhy rovnoramenné;
- váhy nerovnoramenné;
- váhy kyvadlové;
- váhy pružinové měří pomocí deformace pružiny;
- váhy tenzometrické měří pomocí deformace piezoelektrického prvku.
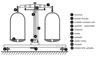
Rovnoramenné váhy
Rovnoramenné váhy pracují na principu dvouramenné páky (vahadla) se stejně dlouhými rameny. Na konci ramen bývají zavěšeny misky, jedna na vážený předmět a druhá na závaží. Uprostřed páky je svislý jazýček, který umožňuje přesně odečíst, kdy jsou obě strany v rovnováze. Rovnoramenné pákové váhy se liší podle toho, pro jaký rozsah hmotností jsou určeny („váživost“), jaká se vyžaduje citlivost, přesnost a podobně. Rozlišujeme váhy analytické, lékárnické, kuchyňské atd.
Přesnost i citlivost vah vyžaduje, aby se páka pohybovala pokud možno bez tření, proto bývá uložena na břitech, někdy dokonce achátových a podobně. Citlivé váhy mají aretační zařízení, které dovoluje páku zvednout z břitů a znehybnit. Náročnější vážení se dělají v uzavřené skříňce, aby se vyloučil vliv proudů vzduchu. Rovnoramenné pákové váhy jsou jednoduché a při dobře vyřešeném zavěšení páky velmi citlivé; nevýhodou je citlivost na otřesy a potřeba sady závaží.
Rovnoramenné váhy patří k nejstarším a už z předhistorických dob jsou známy například velmi jemné váhy na drahokamy. Rovnoramenné váhy jsou také symbolem spravedlnosti a už na staroegyptských reliéfech se vyskytuje motiv vážení duší po smrti, velmi rozšířený ve vrcholném středověku v Evropě. Na sousedních obrázcích egyptský Anubis váží srdce zemřelého a archanděl Michael váží duše, které mu druhý anděl podává, a brání je proti ďáblům.
Fyzikální odvození
Pro rovnováhu na páce platí vztah
- F1.l1 = F2.l2 (1)
kde F znamená síly a I délky obou ramen. Dosadíme-li za hodnoty síly F z první rovnice, dostaneme po jednoduché úpravě vztah pro rovnováhu
- m1.l1 = m2.l2.
Protože v případě rovnoramenných vah se l1 rovná l2, poslední rovnost se dá upravit na
- m1 = m2.
Rovnoramenné váhy jsou tedy v rovnováze právě tehdy, když závaží i vážené těleso mají stejné hmotnosti.

Nerovnoramenné váhy
Také nerovnoramenné váhy pracují na principu dvouramenné páky, jenže délky obou ramen jsou různé. Toho lze využít dvojím způsobem:
- Délky obou ramen mohou být v pevném poměru, například 1:10. V tomto případě bude ve vztahu (1) platit:
- l1 = 10.l2
a váha bude v rovnováze, když bude hmotnost závaží rovna jedné desetině hmotnosti váženého zboží. Tak jsou konstruovány takzvané decimálky, váhy na objemné zboží například v pytlích (obilí, brambory, uhlí atd.). Výhoda je v tom, že závaží nemusí být tak těžká a veliká. U decimálky je kromě toho „miska“ na zboží umístěna nízko, aby se na ni zboží snáze nakládalo. Přenos síly z pohyblivé plošiny (A) na vahadlo (B) se děje dvojí cestou. Jednak šikmým pasem přes špalík a táhlo (E), jednak trojúhelníkovou pákou (H), na niž plošina tlačí v bodě (a) a táhlem (F). Místo jazýčku se k indikaci užívají dva zobáčky, které se v rovnováze ocitnou proti sobě. Pod vahadlem je otočná páka s rukojetí, kterou se vahadlo dá aretovat.
Kromě decimálních vah byly zmiňovány též váhy centesimální, v nichž poměr hmotnosti závaží a zboží je 1 : 100.
Na podobném principu pracovaly i nejstarší typy tzv. mostových vah pro vážení povozů s nákladem a železničních vagonů, které lze někde ještě vidět opuštěné na malých nádražích.

- Délka jednoho z ramen může být proměnná; tak pracují tak zvané přezmeny. V tomto případě stačí jediné závaží, které se posouvá po delším rameni páky tak dlouho, až je váha v rovnováze. Pro hmotnost váženého zboží pak platí vztah (1), jenže hodnoty F1 a l2 jsou konstantní, takže platí:
- F2 = k.l1
a na rameni může být nanesena lineární stupnice hmotností, resp „vah“. Přezmen na obrázku má dvě očka na zavěšení, každé s jinou citlivostí (1:2). U osobních vah se užívá kombinace dvou posuvných závaží (např. o hmotnosti 1 kg a 100 g) na dvou paralelních ramenech, což umožňuje přesnější odečítání.

Kyvadlové váhy
Kyvadlové váhy využívají principu vychýlení ramene s pevným závažím ze svislé polohy. Síla F1, kterou působí kyvadlo o hmotnosti m1 na konci páky je úměrná sinu úhlu α, který kyvadlo svírá se svislou osou podle vztahu.
- F1 = g. m1.sin(α),
kde g je tíhové zrychlení. Při malých výchylkách lze sinus zanedbat, při větších však způsobuje nelineární průběh stupnice. Vhodně voleným pákovým mechanismem však lze dosáhnout lineárního průběhu stupnice, neboť stejná funkce (sinus úhlu α), která způsobuje nelinearitu při působení tlaku na ramena, působí opačně při zdvihání závaží a tím se funkce navzájem vykompenzují. Je nutno pouze zabezpečit, aby se ramena nevychylovala více než 90°, protože potom sinus nabývá opět menších hodnot. V praxi se dokonce používá výchylka maximálně 60°. Váhu lze přímo odečítat na kruhové stupnici, která je uchycena na jednom vahadle oproti jazýčku, který je uchycen na vahadle druhém. Vzájemná výchylka je tím dvojnásobná a to umožňuje dvojnásobnou přesnost odečtu, než by tomu bylo, kdyby jazýček a nebo stupnice byly spojeny pevně s korpusem váhy. Typickým příkladem kyvadlových vah jsou váhy na dopisy.
Váhy pružinové

Pružinové váhy nepotřebují závaží, nýbrž využívají Hookova zákona, podle kterého je velikost deformace, např. relativního prodloužení pružného materiálu Δl, přímo úměrné působící síle F. Pružina, používaná u tohoto typu vah může být buď spirálová, nebo válcová.
V prvním případě se působením tíhy pružina zkrucuje a velikost zkroucení (úhel) se odečítá na kruhovém ciferníku. Tento druh váhy se používá např. u levnějších typů kuchyňských vah nebo u vah na zásilky (dopisy).
V druhém případě se pružina protahuje případně zkracuje; tato změna délky se indikuje na lineární stupnici. Tento typ vah čili mincíř se dodnes často používá v zemědělství, např. pro vážení pytlů s obilím, zabitých zvířat nebo jejich částí. Výhoda je v tom, že je přenosný a nepotřebuje závaží, nevýhodou je menší citlivost i přesnost. Mincíř bývá opatřen na jednom konci okem pro zavěšení na strop nebo jinou konstrukci, na druhém konci hákem pro zavěšení váženého předmětu.
Počítací váhy
Počítací váhy slouží k výpočtu počtu kusů materiálu na základě vážení. Na vážící plošinu se v prvním kroku umístí známý počet kusů materiálu, toto množství se zadá klávesnicí na displej váhy a potvrdí. Váha vypočítá referenční hmotnost jednoho kusu materiálu a potom již průběžně zobrazuje aktuální počet kusů materiálu na váze. Počítací váhy lze najít v sortimentu každé firmy, která se zabývá prodejem vah.
Váhy tenzometrické

Váhy tenzometrické nebo též elektronické jsou nejmodernějším druhem vah. Jsou založeny podobně jako váhy pružinové na deformaci způsobené tíhou váženého objektu. V tomto případě se však deformace měří elektronickou cestou, většinou na základě piezoelektrického jevu. Tyto váhy mají značnou přesnost a podle konstrukce, která může zahrnovat i mechanické převody, snižující velikost deformační síly, mohou mít i velký měřicí rozsah („váživost“) od mikrogramů po desítky tun, takže se dají používat jak v laboratořích, tak pro vážení v kuchyni, v lékařské ordinaci (osobní váhy) i pro vážení vozidel (mostové váhy, přenosné silniční váhy). Nezanedbatelnou výhodou elektronických vah je okolnost, že mohou být propojeny s počítačem, který zajišťuje registraci a další zpracování naměřených hodnot.
Větší citlivosti a přesnosti elektronických vah lze dosáhnout na principu vyrovnání síly, kdy tíha váženého předmětu je vyrovnávána změnou elektrického proudu cívkou, uloženou v poli permanentního magnetu.
Vážení v beztíži
Protože za dynamického stavu beztíže nelze uplatnit pro stanovování hmotnosti těles jejich tíhy, byla vyvinuta pro tyto potřeby kosmonautiky speciální zařízení, využívající setrvačných vlastností hmoty, zejména pak plynoucích z 2. Newtonova pohybového zákona. Těleso o celkové hmotnosti m (např. lidské tělo včetně sedačky a další konstrukce o přesně známé hmotnosti) je upevněno pružinami, umožňujícími jeho kmitání v jednom směru. Protože síla, potřebná k protažení nebo stlačení pružiny, je přímo úměrná prodloužení pružiny x [m] a současně rovná sile působící opačným směrem a potřebné k urychlení a tělesa o hmotnosti m [kg] (pro zjednodušení zanedbáváme vlastní hmotnost pružinového systému), platí
- ,
kde koeficient k (tuhost) [N·m−1] v sobě zahrnuje vlastnosti pružiny. Integrací této diferenciální rovnice získáme její řešení ve tvaru
- ,
kde A je amplituda kmitu (rozkmit) [m], závisející na velikosti počátečního impulsu, t [s] je čas a pro tzv. úhlovou frekvenci ω [rad·s−1] platí
- ,
kde f [Hz] je frekvence kmitání systému. Z toho pak plyne
- ,
tedy hmotnost m [kg] je nepřímo úměrná čtverci naměřené frekvence kmitání.
Na palubě Mezinárodní vesmírné stanice (ISS) je takové zařízení IMT-01 (Измеритель массы тела ИМТ-01) ruské výroby používáno k pravidelné kontrole hmotnosti těl kosmonautů.
Odkazy
Literatura
- KOUŘIL, František; DUŠÁNEK, Jan. Váhy: jejich teorie a oprava. Mukačevo: [s.n.], 1938. 143 s., 26 tabulek.
- Ottův slovník naučný, heslo Váhy. Sv. 26, str. 307
Související články
Externí odkazy
Obrázky, zvuky či videa k tématu váhy na Wikimedia Commons
Galerie váhy na Wikimedia Commons- Váhy. - Magazin Quido. Objevy a vynálezy
- Magazin Quido. Vážíme
- (anglicky) HowStuffWorks:Inside a bathroom scale
- (anglicky) Buy a Weighing Scale