Kraniocerebrální trauma
Jako kraniocerebrální trauma se označují úrazy lebky a mozku. Ty mohou mít za následek smrt či těžké trvalé poškození jedince. Vyskytují se samostatně nebo jsou součástí polytraumat. Nejčastější jsou úrazy dopravní, průmyslové a sportovní.[1]
Mechanismy kraniocerebrálních traumat
Při úrazech hlavy se uplatňují dva základní fyzikální mechanismy:
- translační úraz hlavy vzniká nárazem hlavy na nějaké těleso. Dojde ke vzájemnému předání kinetické energie.
- akcelereční úraz hlavy vzniká bez přímého nárazu hlavy na jiné těleso. Rozlišujeme lineární a rotační akcelerační úrazy.[2]
Klasifikace kraniocerebrálních traumat
Klasifikace dle klinické závažnosti a délky bezvědomí zná tři skupiny, a to lehká, střední a těžká poranění.[2] Dále klasifikačně dělíme kraniocerebrální traumata do dvou skupin:
Primární kraniocerebrální traumata
Primární kraniocerebrální traumata vznikají bezprostředně v souvislosti s traumatem. Řadíme mezi ně:
Fraktury lebky
Fraktury lebky mohou být zavřené či otevřené a penetrující či nepenetrující. Dle linie lomu je dělíme na:
- lineární (pukliny, fisury)
- tříštivé (kominutivní) s impresí či elevací okrajů
- vpáčené (impresivní)
Mozek je nejvíce poškozen v místě úrazu lebky (coup) a na místě protilehlém nárazu (contre coup).[2] Diagnostika se provádí RTG lebky.
Poranění mozku
Poranění mozku může být buď primární či sekundární a fokální či difúzní. Řadíme mezi ně:
Otřes mozku (komoce)
Otřes mozku (commotio cerebri, concussion) je náhlá krátkodobá reversibilní úrazová porucha činnosti CNS. Nemá žádné trvalé následky. Objektivní neurologický nález je bez ložiskových změn. Příčinou je dysfunkce ascendentní retikulární formace. Klinický obraz zahrnuje ztrátu vědomí na 5 minut a méně[2], max. 30 minut,[1] pretraumatickou amnézii (retrográdní), posttraumatickou amnézii (anterográdní); trvá méně než 1 hodinu.[2]
Po probrání z bezvědomí je typická nauzea, zvracení, difúzní bolesti hlavy, závratě, nejistota v prostoru při prudkých pohybech, pohledu vzhůru, při chůzi po schodech, ortostatická tachykardie a hypotenze, poruchy koncentrace, paměti, pocení, palpitace, poruchy spánku. U 50 % postižených tyto příznaky perzistují jako tzv. postkomoční syndrom, někdy se rozvinou i několik dní po propuštění z nemocnice. Tento stav může trvat i řadu měsíců.[1]
Diagnóza je stanovena za pomoci anamnézy a normálního neurologického nálezu. Mezi pomocná vyšetření patří RTG lebky a krční páteře. Léčba zahrnuje hospitalizaci na chirurgickém oddělení, klid na lůžku, pozorování po dobu 3-5 dní – sledování stavu vědomí (á 2 hod.), hybnosti a zornic, symptomatickou terapii, pracovní neschopnost 7-14 dní,[2] ev. až 3 týdny.[1] Prognóza je dobrá, odezní bez trvalých následků.[2]
Pohmoždění mozku (kontuze)

Pohmoždění mozku (contusio cerebri, contusion) je morfologické poškození mozkové tkáně často spojené s krvácením. Vzniká translačním či akceleračním mechanismem poranění. Klinický obraz je velmi variabilní. Patří mezi něj příznaky často způsobeny perifokálním edémem, ztráta vědomí na minuty až hodiny, několikadenní či několikatýdenní zmatenost a často kardiální dysrytmie. Diagnóza se stanoví za pomoci anamnézy (úraz hlavy, bezvědomí, zmatenost) a ložiskového neurologického nálezu. Mezi pomocná vyšetření patří CT (nutno zopakovat s odstupem 24-48 h), RTG lebky a krční páteře, vyšetření očního pozadí, EEG do 3 měsíců po úrazu k posouzení ložiskových změn. Léčbou je hospitalizace na chirurgickém oddělení ev. na JIP, klid na lůžku, antiedematózní léčba (mannitol), nootropika, vitamín C, E, B-komplex, ev. rehabilitace. Prognóza je dobrá, řadu měsíců však perzistuje kognitivní a psychosociální postižení.[2]
Roztržení mozku
Roztržení mozku (dilaceratio cerebri) je těžké morfologické poškození mozkové tkáně. Vzniká translačním či akceleračním mechanismem poranění a je často spojené s kontuzemi a hematomy. Mezi klinický obraz patří ztráta vědomí trvající dny, týdny i měsíce; dále jako u kontuze, ale výraznější. Diagnóza je stanovena pomocí anamnézy (úraz hlavy, bezvědomí) a neurologického nálezu. Mezi pomocná vyšetření patří CT (nutno zopakovat s odstupem 24-48 h), RTG lebky a krční páteře, vyšetření očního pozadí, EEG do 3 měsíců po úrazu k posouzení ložiskových změn. Léčbou je hospitalizace na chirurgickém oddělení ev. na JIP, klid na lůžku, antiedematózní léčba (mannitol), nootropika, vitamín C, E, B-komplex, ev. rehabilitace. Prognóza je špatná, v případě přežití bývá perzistence různého stupně fyzického a psychického deficitu.[2]
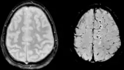
Difúzní axonální poranění

Difúzní axonální poranění je traumatické postižení axonů. Šedá a bílá hmota mají rozdílnou specifickou hmotnost, a proto dochází při úrazu k jejich vzájemnému střižnému pohybu. Axony (bílé hmoty) se natáhnou, poškodí a poté degenerují. Vzniká akceleračním mechanismem poranění. Mezi klinický obraz patří porucha vědomí s ložiskovými příznaky. Dále může být dekortikační rigidita jako odraz postižení axonů motorických drah v úrovni capsula interna a decerebrační rigidita jako důsledek postižení mozkového kmene. Diagnóza se stanovuje za pomoci anamnézy (úraz hlavy, bezvědomí) a negativního CT vyšetření. Mezi pomocná vyšetření patří MRI – drobné ložiskové změny zejm. v oblasti corpus callosum, v subkortikální bílé hmotě, bazálních gangliích, thalamu a Varolově mostu.[1] Léčba zahrnuje hospitalizaci, zajištění vnitřního prostředí, nootropika (piracetam, cca 12 g denně). Prognóza je špatná, není možná úprava ad integrum, bývá perzistence různého stupně fyzického a psychického deficitu.[2]
Sekundární kraniocerebrální traumata
Sekundární kraniocerebrální traumata vznikají s časovým odstupem od traumatu jako opožděný následek. Řadíme mezi ně:
Nitrolebeční hematomy
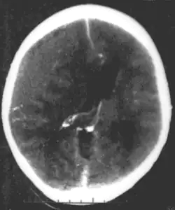
Epidurální hematom

Epidurální hematom je krevní kolekce mezi tvrdou plenou mozkovou (dura mater) a kostmi lebky (kalvou). V supratentoriálním prostoru vzniká nejčastěji na podkladě arteriálního (tepenného) krvácení, a to nejčastěji krvácením z arteria meningea media. V infratentoriální oblasti bývají zdrojem krvácení venózní siny.[2] Ve věku nad 60 let se vyskytuje spíše vzácně, protože dura mater lpí pevně ke kosti.[1]
Malý epidurální hematom může být asymptomatický. Mezi klinický obraz patří ložiskové příznaky progresivního charakteru, porucha vědomí, anizokorie = důsledek komprese okohybného nervu (nervus oculomotorius) jako iniciální příznak temporální herniace (v 85 % je mydriáza na straně hematomu), hemiparéza (na opačné straně než hematom), kraniokaudální deteriorace, u třetiny pacientů je tzv. lucidní interval – po úrazu je nejprve vědomí zachováno, až poté se začnou projevovat příznaky.
Diagnóza je stanovena pomocí CT; hematom je vidět při vyšetření jako bikonvexní hyperdenzní útvar u kostí lebky, často u místa zlomeniny. Léčbou je neurochirurgické odstranění hematomu a podvaz krvácející arterie, venózní krvácení lze léčit konzervativně za monitorace CT.[2]

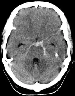
Subdurální hematom
Subdurální hematom je krevní kolekce mezi tvrdou plenou mozkovou a pavoučnicí. Rozlišujeme typy akutní, subakutní a chronické.[1]
Klinický obraz je obdobný jako u epidurálního hematomu, ale s pozvolnějším průběhem; pokud je přítomen lucidní interval, bývá delší. Mezi klinický obraz dále patří hemiparéza (obvykle na opačné straně než hematom, ale může být i na straně stejné; pokud došlo k posunu mozkového kmene), anizokorie – méně často.
Kolikvací krevního hematomu vzniká tzv. chronický subdurální hematom. Má vlastní pouzdro a uvnitř je serózní tekutina. Vzniká nejčastěji krvácením přemosťujících žil (vedou z povrchu mozku do sinus durae matris). Téměř vždy je doprovázen mozkovou kontuzí. Chronický hematom se zvětšuje díky osmotickému mechanismu (pouzdro je semipermeabilní membránou) a díky opakovanému drobnému subdurálnímu krvácení z proliferujících kapilár na membráně hematomu. Klinicky se projevuje až s velkým zpoždění, třeba za 3 měsíce nebo za 3 roky.[2]
Predisponující faktory pro vznik chronického subdurálního krvácení: starší věk, ethylismus, arachnoidální cysty, koagulopatie, antikoagulační léčba, arteriální hypertenze, epilepsie, atp.[2]
Mezi klinický obraz patří bolesti hlavy, zvracení, městnání na očním pozadí, změny osobnosti a zhoršení intelektu a kvantitativní poruchy vědomí s hemiparézou. Diagnóza je stanovena pomocí CT; hematom je vidět při vyšetření jako semilunární hyperdenzní útvar u kostí lebky (kalva). Léčba je konzervativní (spontánní resorpce hematomu) ev. neurochirurgické ošetření. Prognóza je dobrá, při včasné léčbě bez následků[2]
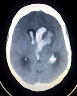
Subarachnoidální krvácení

Subarachnoidální krvácení je krev mezi pavučnicí a vlastní mozkovou tkání. Klinický obraz je často zastřen dominujícím poraněním. Je jím meningeální syndrom, vazospazmus (prevence: blokátory kalciových kanálů či opakovaná lumbální punkce). Prognóza je dobrá. Komplikací jsou vazospazmy a komunikující hyporesorpční hydrocefalus.[2]
.jpg)
Intracerebrální krvácení
Intracerebrální krvácení způsobuje ložiskové intraparenchymové kolekce krve s expanzívním chováním.
- akutní traumatické hematomy – vznikají v okamžiku úrazu, patří do primárních mozkových poranění
- opožděné krvácení – s odstupem 6 hodin až několik týdnů po traumatu
Mezi klinický obraz patří v počátku krátké období zmatenosti či ztráta vědomí, dále dle lokalizace, velikosti hematomu a rychlosti zvětšování. Mezi diagnostické metody patří CT. Léčba je konzervativní (péče o vnitřní prostředí, antiedematózní léčba), případně neurochirurgické odstranění. Prognóza závisí na lokalizaci a rozsahu krvácení, obvykle zůstává ložiskový neurologický deficit.[2]
Mozkový edém
Mozkový edém může být buď generalizovaný či ložiskový, případně vazogenní či cytotoxický. Generalizovaný mozkový edém vzniká nejčastěji v důsledku hypoxie mozku. Klinický obraz je syndrom nitrolební hypertenze. Diagnóza je stavěna CT vyšetřením (zmenšení likvorového prostoru a setření rozdílu mezi šedou a bílou hmotou).
Ložiskový mozkový edém vzniká obvykle v okolí ložiska kontuze a intracerebrálních hematomů. Jeho klinický obraz je fokální neurologické příznaky. Diagnóza je stanovena CT vyšetřením (ložisková hypodenze). Léčba je antiedematózní (mannitol, Dexona), ev. kraniotomie a zevní dekomprese.
Poranění přívodných a mozkových tepen
Nejčastěji bývá poraněn cervikální a kavernózní úsek arteria carotis interna, ale jedná se o vzácné případy. Krvácením do stěny cévy vzniká disekující aneurysma, které se projevuje ložiskovými příznaky.[2]
Nitrolebeční infekce
- Neuroinfekce
- Mozkový absces
Likvorea
Likvorea je komunikace mezi subarachnoidálním a extrakraniálním prostorem. Vzniká nejčastěji traumtaickým mechanismem. Při zlomenině v oblasti přední jámy lební může vzniknout komunikace s dutinou nosní a úniku likvoru nosem – tzv. rinorea. Při frakturách kosti skalní může unikat likvor z ucha – tzv. otorea. Při masivním úniku likvoru vzniká posttraumatická likvorová hypotenze, která se klinicky projevuje téměř stejně jako syndrom nitrolební hypertenze.[2]
Diagnóza probíhá identifikací likvoru (biochemicky), neuroradiologickým průkazem komunikace (izotopová cisternografie či CT cisternografie). Komplikací je riziko nitrolební infekce.
Další posttraumatické komplikace
- posttraumatický hydrocefalus – nejč. komunikující hyporesorpční hydrocefalus
- posttraumatická epilepsie
- posttraumatická encefalopatie
- posttraumatický parkinsonský syndrom
- poranění hlavových nervů
- posttraumatický pneumocefalus (vzduch v likvorovém prostoru)
- mozková turgescence (kongesce či hyperémie mozku) – zvětšení mozkového krevního objemu např. při hypoxii, hyperkapnii a laktátové acidóze[1]
Odkazy
Reference
- V tomto článku je použit text článku Kraniocerebrální traumata ve WikiSkriptech českých a slovenských lékařských fakult zapojených v MEFANETu.
- V tomto článku je použit text článku Epidurální hematom ve WikiSkriptech českých a slovenských lékařských fakult zapojených v MEFANETu.
Externí odkazy
- (anglicky) NetterImage - Kraniocerebrální traumata (obrázky)
- (česky) Zachrannaslužba.cz - Ošetřování pacientů s kraniocerebrálním traumatem
- (česky) Zdravotnické noviny - Kvalita života po kraniocerebrálním poranění či poškození mozku Archivováno 24. 6. 2020 na Wayback Machine.
- (česky) Monitoring pacientů s těžkým poraněním mozku Martin Smrčka 2011