Kolejová brzda

Kolejová brzda je brzda montovaná stabilně do kolejiště seřaďovacího nádraží mezi svážný pahrbek a první výhybky směrových kolejí. Jejím úkolem je zmírnit rychlost vozů jedoucích ze svážného pahrbku.
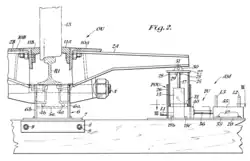
Kolejová brzda se skládá z trámců, umístěných podél jedné nebo obou kolejnic. Obsluha brzdy může pomocí pneumatického (též hydraulického nebo elektromagnetického) systému trámce zdvihnout a přitisknout je ke kolům projíždějícího vagónu. Třením kol o trámce se vagón zpomalí.
Kolejové brzdy jsou součástí prakticky všech větších seřaďovacích nádraží.
Kolejovou brzdu využívá i zábavní atrakce horská dráha - příklad možno vidět na Výstavišti v Praze.
Externí odkazy
Obrázky, zvuky či videa k tématu Kolejová brzda na Wikimedia Commons