P6 (mikroarchitektura)

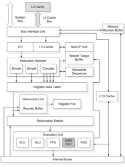
Schéma architektury P6
Schéma architektury P6
Intel Pentium II 3919A004
Intel Pentium II 3919A004

P6 (označovaná někdy také i686) je architektura mikroprocesorů Intelu rodiny x86 reprezentovaná modely procesorů Pentium Pro, Pentium II, Pentium III a jejich variant. Společnost uvedla tuto architekturu na trh v listopadu 1995, kdy začala nahrazovat předchozí architekturu P5. 20. listopadu 2000 ji potom naopak začala nahrazovat novější architektura NetBurst s procesory Pentium 4, která měla ale horší charakteristiky spotřeby a teploty. Proto se v březnu 2003 vrátila mikroarchitektura P6 na scénu v upravené podobě prostřednictvím nových procesorů Pentium M/Celeron M pro notebooky. Další úpravou architektury P6 potom vznikly procesory úspěšné architektury Intel Core.

P6 byla šestou generací procesorů Intel a přinesla s sebou například technologii PAE nebo později i instrukce SSE. Procesory této architektury byly zpočátku vyráběny 500 nanometrovou technologií, později 350, 250, 180 až nakonec i 130 nanometrovou.